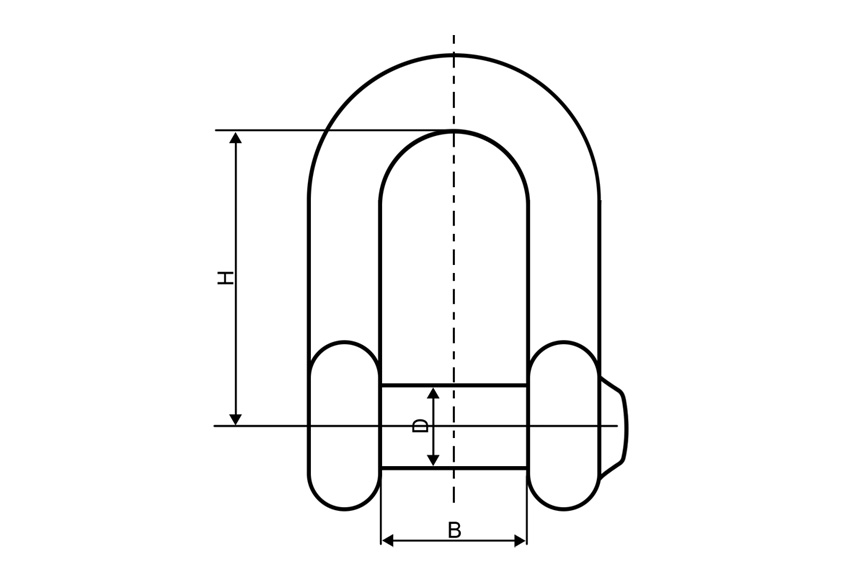
| 允許負荷SWL(t) | 英制公尺(in.) | 主要尺寸mm | 重量(kg) | |||
| d | D | B | H | |||
| 3.25 | 5/8 | 16 | 20 | 27 | 51 | 0.66 |
| 4.75 | 3/4 | 19 | 22 | 32 | 60 | 1 |
| 6.5 | 7/8 | 22 | 25 | 37 | 70.5 | 1.5 |
| 8.5 | 1 | 25 | 30 | 43 | 81 | 2.4 |
| 9.5 | 1-1/8 | 29 | 32 | 46 | 90 | 3.2 |
| 12 | 1-1/8 | 32 | 36 | 52 | 100 | 4.5 |
| 13.5 | 1-3/8 | 35 | 38 | 57 | 112 | 5.1 |
| 17 | 1-1/2 | 38 | 42 | 60 | 122 | 8.1 |
| 25 | 1-3/4 | 44 | 50 | 73 | 146 | 12.2 |
| 35 | 2 | 51 | 56 | 83 | 171 | 18.2 |
| 45 | 2-1/4 | 56 | 65 | 95 | 180 | 26 |
| 55 | 2-1/2 | 64 | 70 | 105 | 205 | 35.4 |
| 60 | 2-3/4 | 70 | 78 | 100 | 283 | 44 |
